 |
Вокруг света
Sony разработала адаптер для обратной совместимости консолей
5:29PM Wednesday, Sep 15, 2010
|
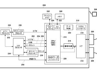
Компания Sony подала заявку на патентование устройства, позволяющего запускать игры со старых консолей, сообщает Siliconera. На схеме видно, что устройство обладает тремя процессорами: основным, графическим и звуковым, а также декодером/эмулятором DVD.
Журналисты предполагают, что таким образом Sony хочет вернуть PlayStation 3 совместимость с играми предыдущего поколения. Вначале играми для PlayStation 2 занимался отдельный процессор, однако позже в целях удешевления производства консоль стала их воспроизводить программными средствами. Специалисты отмечали, что данный способ работал хуже.
Со временем из консоли и вовсе убрали совместимость с PlayStation 2. Поддержки игр для первой PlayStation это никак не коснулось. Игры для нее PlayStation 3 с самого начала обрабатывала программно.
По материалам lenta.ru
Другие новости по теме
Пойманного в Испании совладельца "Хромой лошади" экстрадируют в Россию
Прокуратура и полиция Польши выдали ордер на задержание Ахмеда Закаева
Канадский министр заявил в Москве о претензиях на хребет Ломоносова
Неудавшийся теракт в отеле Копенгагена: задержан одноногий чеченец
Польша выдала ордер на арест Ахмеда Закаева
Пятилетний ребенок успешно притворился первоклассником
Сбербанк выдаст "Сухому" кредит на создание истребителя Су-35
Словенский телеведущий попался в прямом эфире без штанов (ВИДЕО)
ВВС США установили на истребитель F-15 новый радар Raytheon
Индонезийские медики определили, какое вещество убило трех российских авиатехников
Россия потребует экстрадиции Закаева из Польши
В телах умерших в Индонезии россиян нашли следы технического спирта
Британскому подростку запретили ездить в США из-за письма Обаме
Телеведущего BBC, который в эфире признался в убийстве любовника, осудили условно
На Украине раскрыта афера с арендованными РФ землями в Крыму, за которые Москва платит по $10 млрд
Во Франции вышла скандальная книга о Карле Бруни
Смотрите также: В мире, Бизнес, Общество, Спорт, Искусство, Авто, Hi-Tech, Здоровье, Путешествия, USA, Россия |
|  |