login register
ShowSale.com HomePage
    NEWS CENTRAL >> Вокруг света

News Central


All States

Вокруг света

Google запатентовал использование местоположения в рекламе
10:43AM Tuesday, Mar 2, 2010
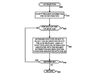
Иллюстрация из патента Google
Корпорация Google запатентовала идею использования местоположения потребителя для показа рекламных объявлений, пишет DigitalBeat. Соответствующее свидетельство выдало Бюро по регистрации патентов и товарных знаков США.

Авторы изобретения предлагают учитывать местоположение в качестве одного из параметров, определяющих релевантность показываемых рекламных объявлений. Кроме того, местоположение можно связать с ценами на рекламу, а также выбрать в зависимости от географических данных одну из нескольких рекламных страниц.

Таким образом пользователь сможет, например, по запросу "кофейня" увидеть рекламу кофеен, находящихся в радиусе километра.

Заявку на получение данного патента Google подал шесть лет назад. В настоящее время географические координаты, получаемые с помощью навигационных модулей, либо просто запрашиваемые у пользователя, уже широко используются участниками рынка онлайновой рекламы.

Пока неизвестно, как Google воспользуется полученным патентом и применит ли его по отношению к конкурентам. Корпорация в последние несколько месяцев активно развивает мобильную рекламу. Патент на географическую привязку объявлений даст Google, недавно купившему оператора мобильной рекламы AdMob, преимущество перед другими компаниями.

По материалам lenta.ru
« « Вернуться       Далее » »
Другие новости по теме
  • Изо льдов Балтики освободили все суда
  • Швеция обнародовала техданные о подлодке нового поколения
  • В Мексике на скорости перевернулся автобус, 9 погибших, 21 раненый
  • Задержанные в Чехии студенты из России не знают причин происходящего
  • Бюро переписи населения США окажет помощь русскоязычному населению в заполнении анкет
  • США отказались выступить посредником в споре о Фолклендах
  • Мемуары Лоры Буш выйдут в свет через два месяца
  • Социальные интернет-сети помогли эвакуировать 500 тысяч гавайцев в связи с угрозой цунами
  • Пресс-секретарь Обамы не спешит выполнять условия "хоккейного" пари, проигранного канадскому коллеге
  • В США арестованы активы "Аль-Каиды" на 11,2 млн долларов
  • В Чили разбился самолет спасательной службы: шестеро погибших
  • Кризисы в отношениях России и Франции преодолены: их лидеры называют друг друга партнерами и говорят об отмене виз
  • В Лондоне арестован бывший вице-президент Боснии и Герцеговины Эюп Ганич
  • Корабль НАТО потопил пиратское судно
  • Корабль НАТО затопил у берегов Сомали плавучую базу пиратов
  • Пассажир дешевой авиакомпании от жадности съел выигранный на борту лотерейный билет в 10 тысяч евро

    Далее » »   Digest | Архив »    
News Central Home | News Central Resources | Portal News Resources | Help | Login
     
Phone Cards at ComFi     Russian America Top. Рейтинг ресурсов Русской Америки. © 2026 RussianAMERICA Holding
All Rights Reserved • Contact